Published:2009/6/19 4:26:00 Author:May | From:SeekIC

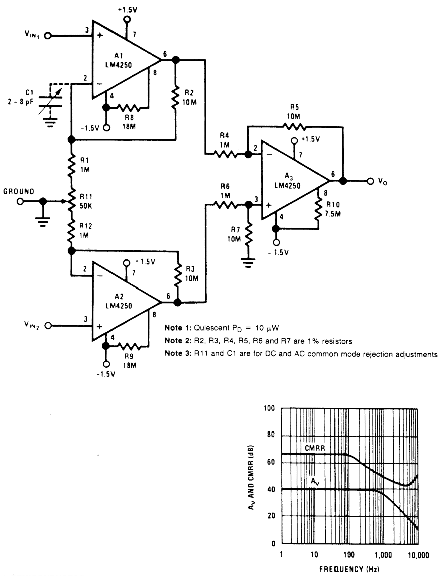
CMRR vs.frequency.
Reprinted Url Of This Article:
http://www.seekic.com/circuit_diagram/Amplifier_Circuit/×100INSTRUMENTATION_AMPLIFIER.html
Print this Page | Comments | Reading(3)
Code: