Published:2009/7/16 2:51:00 Author:Jessie | From:SeekIC

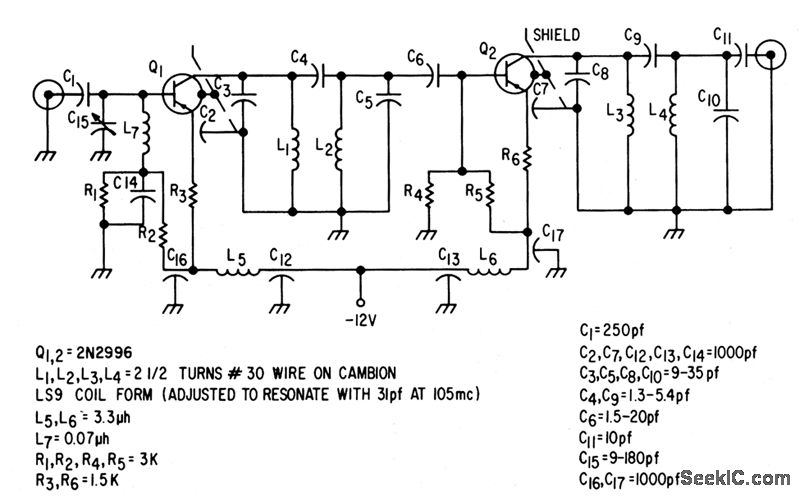
Proper loading gives good stability while providing 38 db power gain in two stages, with bandwidth of 8 Mc and noise figure of 2.5 db.-Texas Instruments Inc., Solid-Slate Communications, McGraw-Hill, N.Y., 1966, p 314.
Reprinted Url Of This Article:
http://www.seekic.com/circuit_diagram/Amplifier_Circuit/105_MC_I_F_WITH_2N2966.html
Print this Page | Comments | Reading(3)
Code: