Published:2009/6/25 21:17:00 Author:May | From:SeekIC

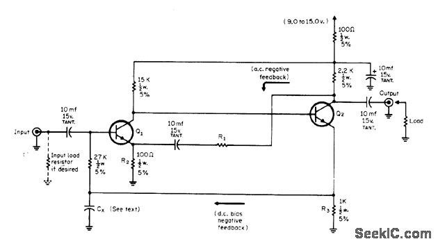
High-gain wideband untuned general-purpose amplifier uses Fairchild 2N5126 or equivalent transistors in direct-coupled circuit. Design is stable for both power supply and temperature variations.Gain is adjusted with R1, with maximum of 38 to 44 dB and maximum output of about 1V P-P.Will drive low-level transistor circuits having load of about 1000 ohms. If several amplifiers are used in series for higher gain, shielding is required. Applications include amplification of pulsed light signals detected by photodiode. Cx can be 100-pF mica,-A. B Hutchison, Jr., Gen-eral Purpose Wide Band Amplifier, CQ, May 1972, p 22-23.
Reprinted Url Of This Article:
http://www.seekic.com/circuit_diagram/Amplifier_Circuit/10_dB_GAIN_AT_001_1OO_MHz.html
Print this Page | Comments | Reading(3)
Code: