Published:2009/7/9 1:01:00 Author:May | From:SeekIC


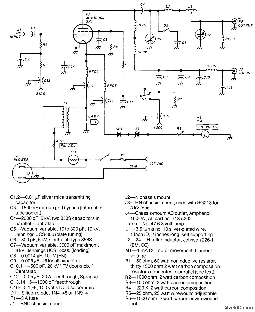
The frequency range of this amplifier is 1.8 to 54 MHz.The amount of RF drive required for full out-put is about 30 W. The grid compartment (R1, R2, RFC4,RFC5)should be shielded from the othercircuitry-especially the output circuitry.
Reprinted Url Of This Article:
http://www.seekic.com/circuit_diagram/Amplifier_Circuit/1500_W_BF_AMPLIFIER.html
Print this Page | Comments | Reading(3)
Code: