Published:2009/6/26 2:30:00 Author:May | From:SeekIC

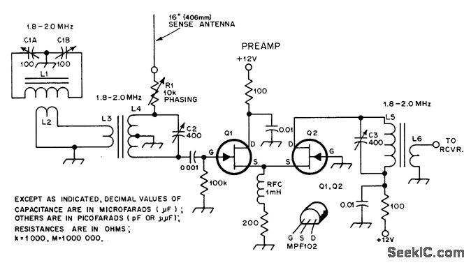
Ferrite-rod antenna is combined with 16-inch wire rod to give cardioid radiation pattern for low-noise 160-meter antenna system. Preamp using MPF102 FETs has gain of 25 dB. L1 is 48 turns No.14 enamel spread to 4.5 inches on 0.5 inch Amidon ferrite rod 7 inches long. L2 is 6-turn link wound over center of L1.L4 and L5 are each 50 turns No.26 enamel on 780-2 powdered-iron toroid cores, with 6 turns for links L3 and L6.-D. DeMaw, Low-Noise Receiving An-tennas, QST, Dee.1977, p 36-39.
Reprinted Url Of This Article:
http://www.seekic.com/circuit_diagram/Amplifier_Circuit/160_METER_PREAMP_WITH_FERRITE_LOOP.html
Print this Page | Comments | Reading(3)
Code: