Published:2009/7/24 2:16:00 Author:Jessie | From:SeekIC





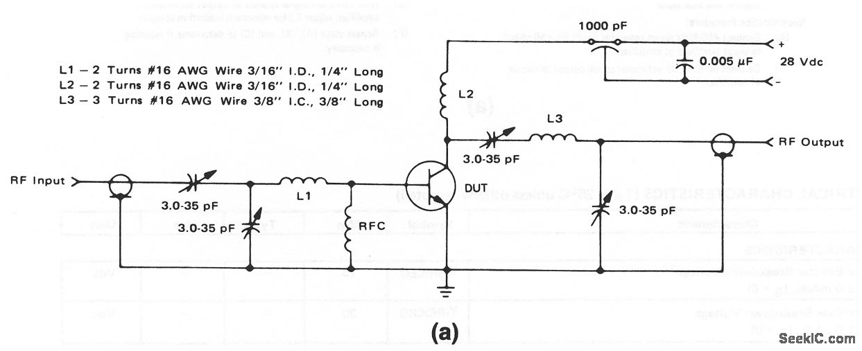
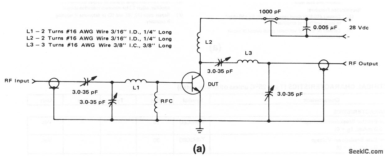
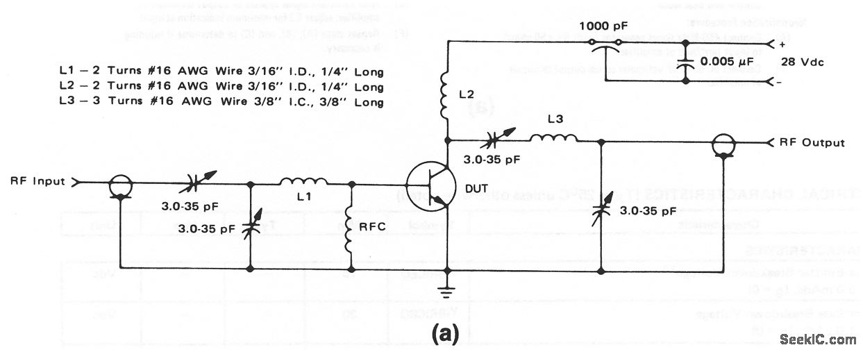
The electrical characteristics for the 2N3553 shown in this circuit are given in Fig. 2-12B.
Reprinted Url Of This Article:
http://www.seekic.com/circuit_diagram/Amplifier_Circuit/175_MHz_25_W_amplifier_28_V_supply.html
Print this Page | Comments | Reading(3)
Code: