Published:2013/3/26 3:04:00 Author:Ecco | Keyword: 1W, Stereo Headphone Amplifier | From:SeekIC

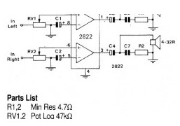
Above circuit diagram is the schematic of 1W stereo headphone amplifier. The circuit is built based TDA2822, designed for use in portable players, radios and other common electronic devices which can use headphone for the audio output.
Reprinted Url Of This Article:
http://www.seekic.com/circuit_diagram/Amplifier_Circuit/1W_Stereo_Headphone_Amplifier_based_TDA2822.html
Print this Page | Comments | Reading(3)
Code: