Published:2009/7/6 4:07:00 Author:May | From:SeekIC


Circuit Notes
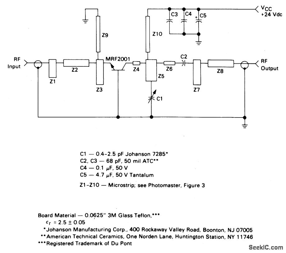
Simplicity and repeatability are feature-d in this 1 watt S-band amplifier design. The design uses an MRF2001 transistor as a common base, Class C amplifier. The amplifier delivers 1 watt output with 8 dB minimum gain at 24 V, and is tunable from 2.25 to 2.35 GHz. Applications include microwave communications equipment and other systems requiring medium power, narrow band amplification. The amplifier circuitry consists almost entirely of distributed microstrip elements. A total of six additional components, including the MRF2001, are required to build a working amplifier. The input and output impedances of the transistor are matched to 50 ohms by double section low pass networks. The networks are designed to provide about 3% 1 dB power bandwidth while maintaining a collector efficiency of approximately 30%. There is one tuning adjustment in the amplifier-C1 in the output network. Ceramic chip capacitors, C2 and C3, are used for dc blocking and power supply decoupling. Additional low frequency decoupling is provided by capacitors C4 and C5.
Reprinted Url Of This Article:
http://www.seekic.com/circuit_diagram/Amplifier_Circuit/1_WATT,23_GHz_AMPLIFIER.html
Print this Page | Comments | Reading(3)
Code: