Published:2009/6/25 21:33:00 Author:May | From:SeekIC

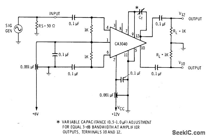
RCA CA3040 IC is connected for single-ended input and balanced output, with no resonant circuits. Gain is above 30 dB over wide frequency range.-E. M. Noll, Linear IC Principles, Experiments, and Proiects, Howard W. Sams, Indianapolis, IN, 1974, p 162-163 and 168.
Reprinted Url Of This Article:
http://www.seekic.com/circuit_diagram/Amplifier_Circuit/20_MHz_WIDEBAND.html
Print this Page | Comments | Reading(3)
Code: