Published:2009/6/18 1:53:00 Author:May | From:SeekIC

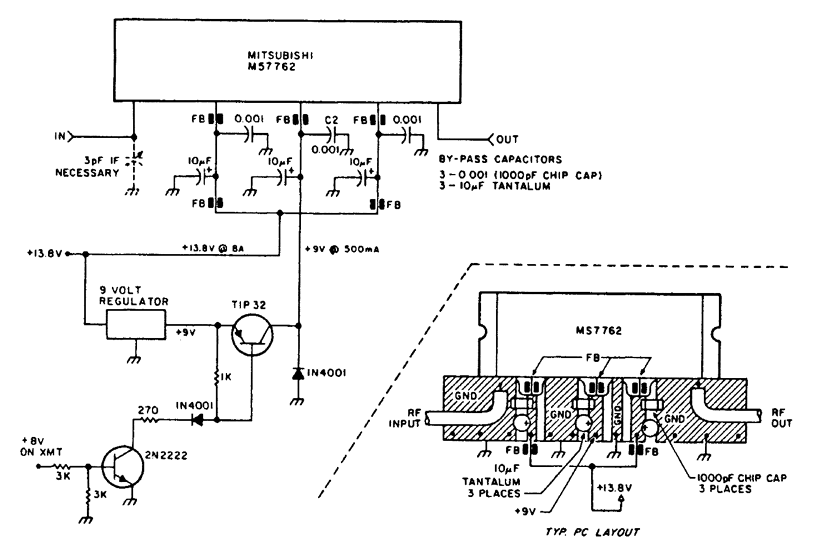
Using a Mitsubishi M57762 amplifier module, this amplifier delivers 20-W output on 1296 MHz. A single 12-V nominal power supply can be used.
Reprinted Url Of This Article:
http://www.seekic.com/circuit_diagram/Amplifier_Circuit/20_W_1296_MHz_AMPLIFIER_MODULE.html
Print this Page | Comments | Reading(3)
Code: