Published:2009/6/18 1:41:00 Author:May | From:SeekIC

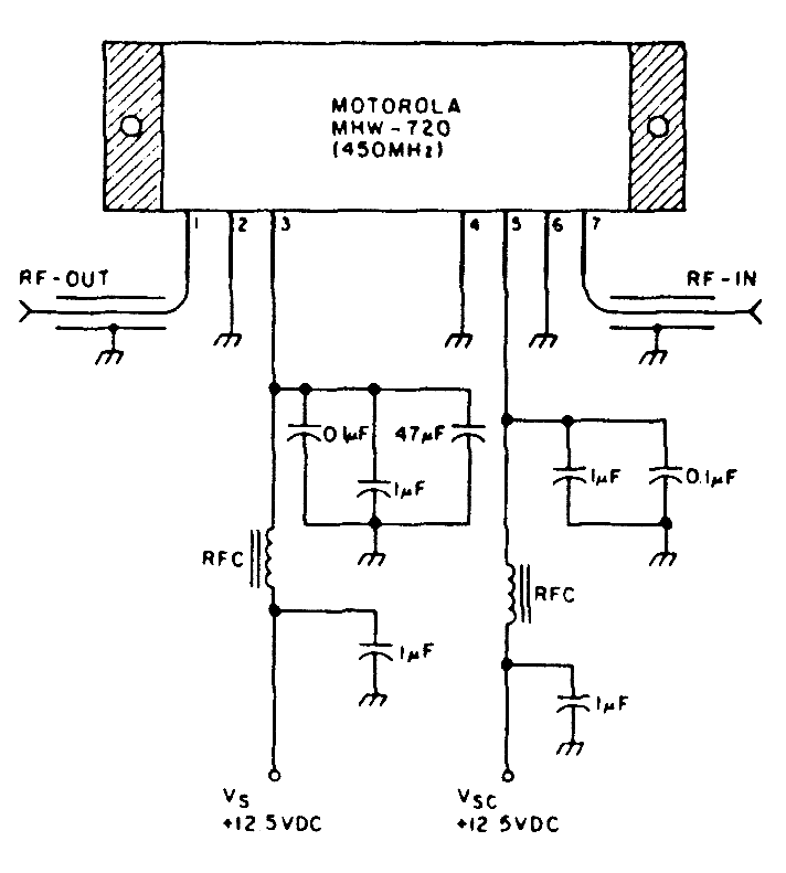
Delivering 20-W output, this amplifier has a gain of 21 dB at 450 MHz. A 12-V supply powers this circuit.
Reprinted Url Of This Article:
http://www.seekic.com/circuit_diagram/Amplifier_Circuit/20_W_450_MHz_AMPLIFIER.html
Print this Page | Comments | Reading(3)
Code: