Published:2009/7/20 5:23:00 Author:Jessie | From:SeekIC

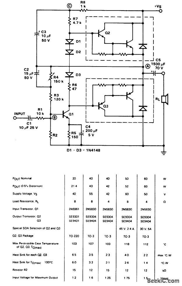
20-/40-/50-/60-watt complementary Darlington AF power amplifier. See table for amplifier component specs (courtesy Fairchild Semiconductor).
Reprinted Url Of This Article:
http://www.seekic.com/circuit_diagram/Amplifier_Circuit/20__40__50__60_watt_complementary_Darlington_AF_power_amplifier.html
Print this Page | Comments | Reading(3)
Code: