Published:2009/7/2 0:36:00 Author:May | From:SeekIC

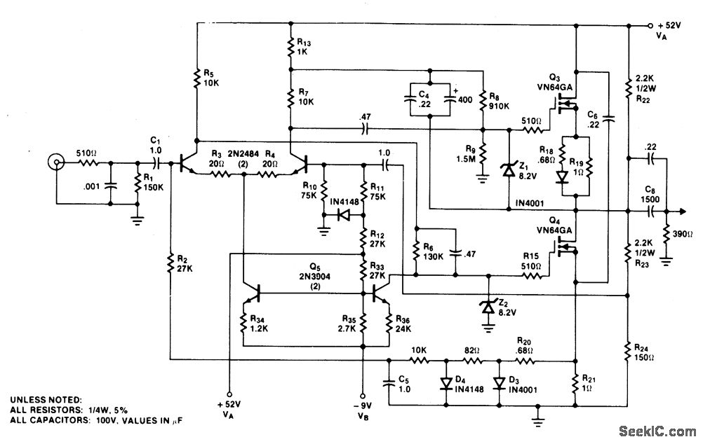
Transistors are used for current sources.Base drive for these transistors is de-rived from the main power supply VA, so that their collector current is proportional to the rail voltage. This feature holds the voltage on the diff-amp collectors close to VA/2.The sensitivity of IQ to VA is about 3.4 mA/volt when Vg is held constant; the sensitivity of IQ to VB is -15 mA/volt when VA is held constant. In a practical amplifier with a non-regulated supply, variations in power output will cause fluctuations in VA, but will not affect Vg; therefore, having IQ increase slightly with power output will tend to compensate for the 3.4 mA/volt IQVA sensitivity. In the case of line voltage variations, since VA is about five times Vg, the sensitivities tend to cancel, leaving a net sensitivity of about 2 mA/volt.
Reprinted Url Of This Article:
http://www.seekic.com/circuit_diagram/Amplifier_Circuit/25_WATT_AMPLIFIER.html
Print this Page | Comments | Reading(3)
Code: