Published:2009/7/24 2:22:00 Author:Jessie | From:SeekIC


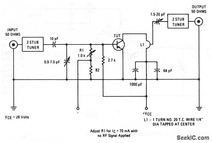
The electrical characteristics for the 2N4428 shown in this circuit are given in Fig.2-17B.
Reprinted Url Of This Article:
http://www.seekic.com/circuit_diagram/Amplifier_Circuit/500_MHz_075_W_amplifier_28-V_supply.html
Print this Page | Comments | Reading(3)
Code: