Published:2009/7/23 23:45:00 Author:Jessie | From:SeekIC

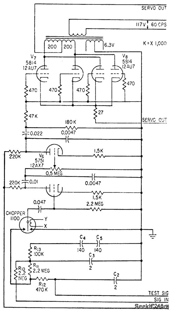
Consists of 60-cps d-c chopper, two stages of 60-cps voltage amplification V6, and 4-W power output stage V7-V8 that drives control winding of two-phase servo motor. Over-all power gain is 80 db.-P. G. Balko, Infrared Finds Audio Suspension Leaks, Electronics, 31:49, p 82-85.
Reprinted Url Of This Article:
http://www.seekic.com/circuit_diagram/Amplifier_Circuit/60_CPS_SERVO_AMPLIFIER.html
Print this Page | Comments | Reading(3)
Code: