Published:2009/7/16 2:28:00 Author:Jessie | From:SeekIC

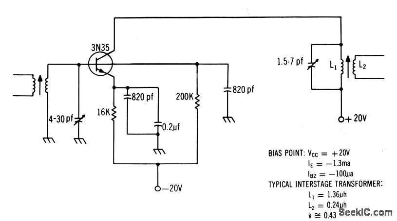
Use of 3N35 gives excellent agc characteristics, Stage gain is 12 db.-Texas Instruments Inc., Solid-State Communications, McGraw-Hill, N,Y., 1966, p 3.
Reprinted Url Of This Article:
http://www.seekic.com/circuit_diagram/Amplifier_Circuit/60_MC_TETRODE_I_F.html
Print this Page | Comments | Reading(3)
Code: