Published:2009/7/6 1:43:00 Author:May | From:SeekIC



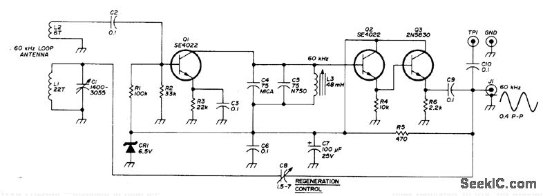
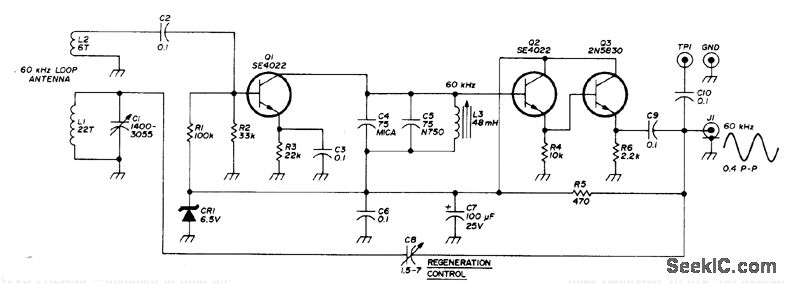
Installed in loop antenna to boost strength of 60-kHz standard-frequency broadcasts from NBS station at Boulder, Colorado, enough to drive digital frequency counter for which circuit is also given in article.Although construction details apply to double-copper shielded 54-inch,diameter circular loop, preamp can also be used with simple unshlelded wood-frame loop. Output coax supplies regulated 10 VDC for preamp, Article indudes techniques for minimizing interference from nearby TV receivers.-H. Isenring,WWNB Signal Processor, Ham Badio, March 1976, p 28.-34.
Reprinted Url Of This Article:
http://www.seekic.com/circuit_diagram/Amplifier_Circuit/60_kHz_WWVB_PREAMP.html
Print this Page | Comments | Reading(3)
Code: