Published:2009/7/10 5:01:00 Author:May | From:SeekIC

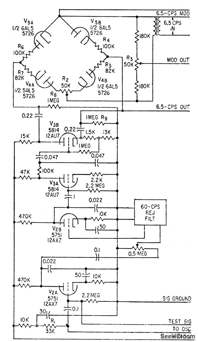
Consists of three triode stages (V2A, V2B, and V3A). Peaks at about 6.5 cps, with 18 db attenuation at each octave. Double-T reiection filter between V2A and V2B ottenuates any 60-cps pickup. Overall gain is 80 db. Phase inverter V3B provides 180° out-of-phase signal for full-wave phose-sensitive bridge rectifier that uses reference signal.Output is rectified error signal for infrared analyzer used to detect leaks in automobile air-suspension systems.-P. G.Balko, Infrared Finds Auto Suspension Leaks, Electtonics, 31:49, p 82-85.
Reprinted Url Of This Article:
http://www.seekic.com/circuit_diagram/Amplifier_Circuit/65_CPS_AMPLIFIER.html
Print this Page | Comments | Reading(3)
Code: