Published:2009/7/6 4:19:00 Author:May | From:SeekIC

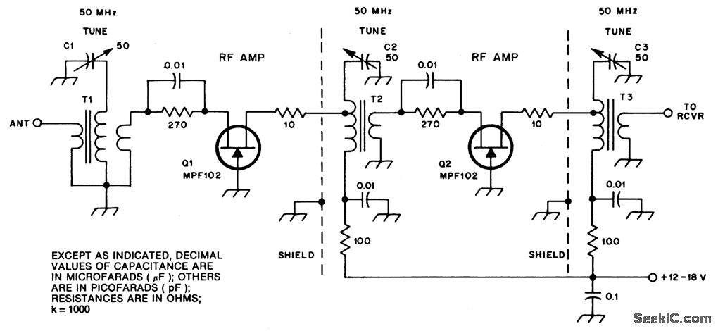
Circuit NotesC1, C2, and C3 are miniature ceramic or plastic trimmers. T1 (main winding) is 0.34μH. Use of 11 turns of no. 24 enameled wire on a T37-10 toroid core. The antenna winding has one turn, and Q1 the source winding has three turns. T2 primary consists of 11 turns of no. 24 enameled wire on a T37-10 toroid. Tap Q1 drain is three turns from C2 the end of the winding. The secondary has three turns. T3 is the same as T2, except its secondary has one turn.
Reprinted Url Of This Article:
http://www.seekic.com/circuit_diagram/Amplifier_Circuit/6_METER_PREAMPLIFIER_PROVIDES_20_dB_GAIN_AND_LOW_NF.html
Print this Page | Comments | Reading(3)
Code: