Published:2009/6/24 3:04:00 Author:May | From:SeekIC

Reprinted Url Of This Article:
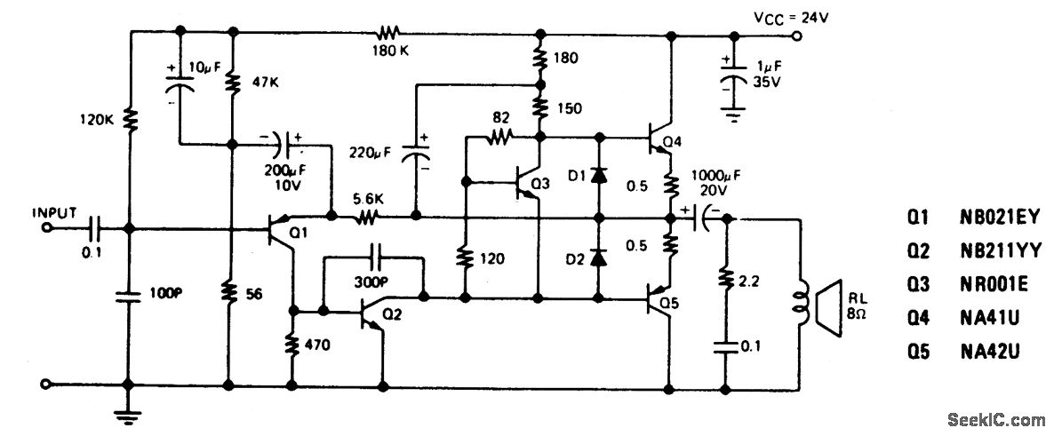
http://www.seekic.com/circuit_diagram/Amplifier_Circuit/6_W,8’OHM_OUTPUT_TRANSFORMERLESS_AMPLIFIER.html
Print this Page | Comments | Reading(3)
Code: