Published:2009/7/14 22:48:00 Author:Jessie | From:SeekIC

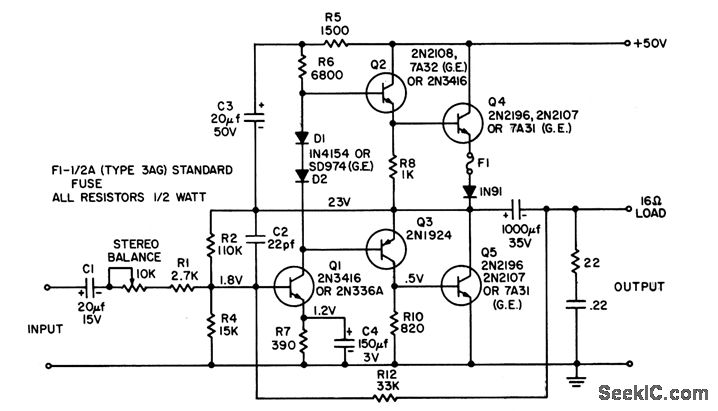
Output impedance is 0.5 ohm, for good speaker dampingļ¼Response is down only 3 db at 86 kc.Power response is flat Within 0.33 db from 30 cps to 15 kc at 6 w output.- Transistor Manucal, Seventh Edition, General Electric Co., 1964, p 263.
Reprinted Url Of This Article:
http://www.seekic.com/circuit_diagram/Amplifier_Circuit/8_W_SILICON_TRANSISTOR_POWER_AMPLIFIER.html
Print this Page | Comments | Reading(3)
Code: