Published:2009/7/9 1:12:00 Author:May | From:SeekIC



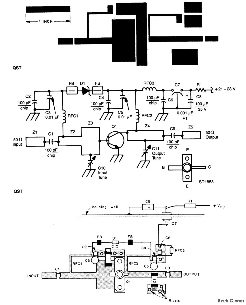
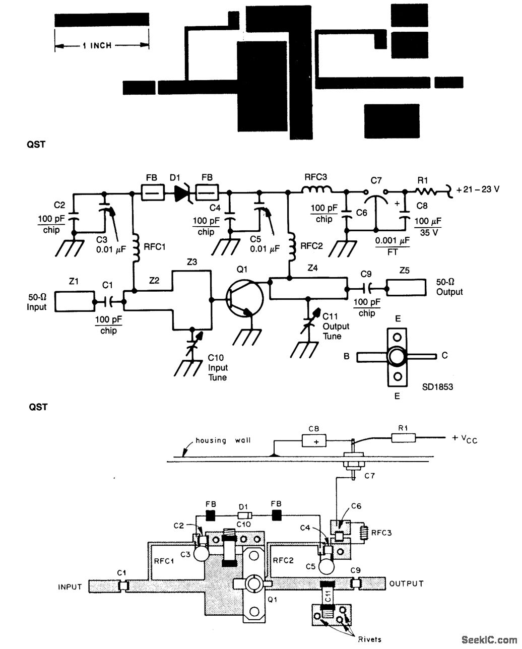
Two W output can be produced by this circuit designed for the 902- to 928-MHz amateur band. As shown in the figures, much of the circuitry is in the form of PC board traces.
Reprinted Url Of This Article:
http://www.seekic.com/circuit_diagram/Amplifier_Circuit/903_MHz_LINEAR_AMPLIFIERS.html
Print this Page | Comments | Reading(3)
Code: