Published:2009/7/3 3:04:00 Author:May | From:SeekIC

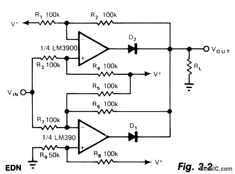
The noninverting amplifter has a gain of R2/R3 (1 in this case) and produces a voltage of Vout during a positive excursion of Vin with respect to ground.The inverting amplifter accommodates the negative excursions of Vin; its gain is given by -R6/R7, which equals -1 to maintain symmetry with the noninverting amplifter. R9 provides adjustment for the symmetry, supply variations, and offsets. Even though the circuit operates on a single supply, Vin can go negative to the same extent that it goes positive.
Reprinted Url Of This Article:
http://www.seekic.com/circuit_diagram/Amplifier_Circuit/ABSOLUTE_VALUE_NORTON_AMPLIFIER.html
Print this Page | Comments | Reading(3)
Code: