Published:2009/7/17 2:45:00 Author:Jessie | From:SeekIC

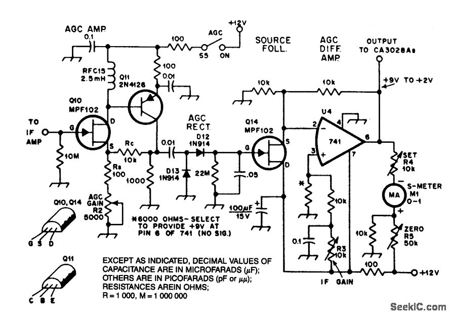
An MPF102 amplifier feeds IF signals to a 2N4126. A potentiometer in the MPF102 Source acts as agatn control.This voltage is rectified by an 1N914 doubling detector, and drives a 741 op amp vla a source follower(Q14).S-meter and IF-gain controls are provided.
Reprinted Url Of This Article:
http://www.seekic.com/circuit_diagram/Amplifier_Circuit/AGC_SYSTEM_FOR_CA3028_IF_AMPLIFIER.html
Print this Page | Comments | Reading(3)
Code: