Published:2009/6/29 2:05:00 Author:May | From:SeekIC

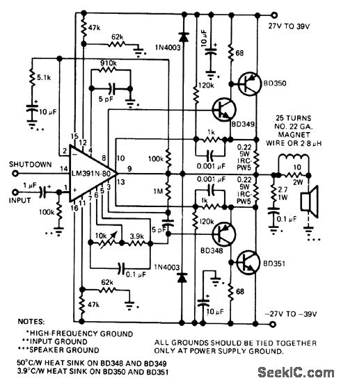
Combination of National LM391 audio driver 10 and discrete power transistors provides 60-W output for loudspeaker at very low distortion. IC output can swing ±40V.Totalharmonic distortion of circuit is under 0.05%.-P.Franson, Consumer-Product IC's-New Offerings Trtgger an Explosion in Markets Old and New,EDN Magazine, Nov.5,1977,p 54-65.
Reprinted Url Of This Article:
http://www.seekic.com/circuit_diagram/Amplifier_Circuit/Amplifier_Circuits-Audio/60_W.html
Print this Page | Comments | Reading(3)
Code: