Published:2011/7/9 1:07:00 Author:Fiona | Keyword: In-phase, audio amplifier | From:SeekIC

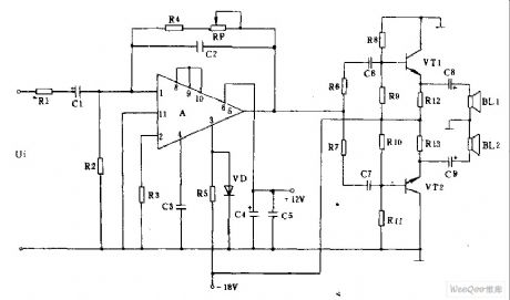
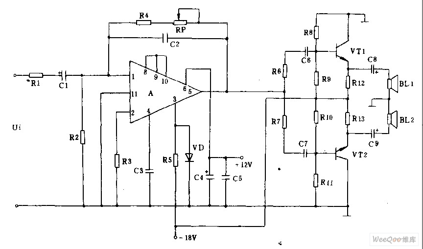
The Working principle is shown as above:input audio weak signal is amplified by amplifier A's 1 pin after capacitance cl coupling.The signal putout by @ pin and two parallel symmetrical, balance of power amplifier transistor VTl,VT2 emitters are in-phase output.In the circuit, c2, R4, RP form the negative feedback circuit to improve the stability of the output waveform.c3 is compensatory high frequency capacitor. C4, c5 are power supply AC component filter capacitors.Resistor R8 ~ Rlj are the bias resistors of transistor vTl,vT2. Low frequency end stand or fall depends on the capacity size of the output capacitors C8, c9 at the output end,meanwhile,it plays the every straight role,adjust potentiometer RP can adjustable gain up to 10dB or more.
Reprinted Url Of This Article:
http://www.seekic.com/circuit_diagram/Amplifier_Circuit/Amplifier_Circuits-Audio/In_phase_audio_amplifier_circuit.html
Print this Page | Comments | Reading(3)
Code: