Published:2009/6/14 21:35:00 Author:jailer | From:SeekIC

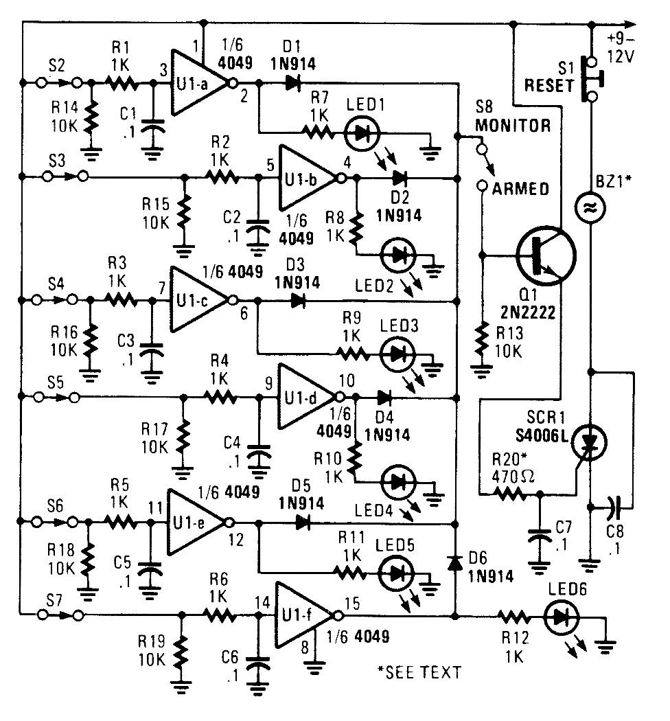
This alarm has status LEDs connected across each inverter output to indicate the status of its as-sociated sensor. S8 is used to monitor the switches via the LEDs, or to trigger an alarm via Q1 and SCR1. BZ1 should be a suitable alarm of the noninterrupting type.
Reprinted Url Of This Article:
http://www.seekic.com/circuit_diagram/Amplifier_Circuit/Amplifier_Circuits-Audio/MULTI_LOOP_PARALLEL_ALARM.html
Print this Page | Comments | Reading(3)
Code: