Published:2009/7/23 23:29:00 Author:Jessie | From:SeekIC

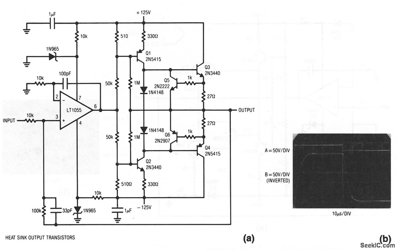
This amplifier provides a±120-V output. The full-power bandwidth is 15-kHz with a slew rate of about 20 V/μs. Figure 1-13B shows the results with a ±12-V input (trace A). The output (trace B) is a cleanly-damped 240 Vpp pulse.
Reprinted Url Of This Article:
http://www.seekic.com/circuit_diagram/Amplifier_Circuit/Amplifier_with_±120_V_output_.html
Print this Page | Comments | Reading(3)
Code: