Published:2009/7/10 2:27:00 Author:May | From:SeekIC

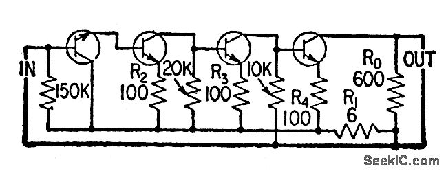
Circuit shows how voltage gain in transistor amplifier can be exchanged for input impedance through use of negative feedback. At same time, voltage gain is made more independent of transistor parameters. -Feedback Increases Input Impedance, Electronics, 32:11, p 150-153.
Reprinted Url Of This Article:
http://www.seekic.com/circuit_diagram/Amplifier_Circuit/BOOSTING_INPUT_IMPEDANCE.html
Print this Page | Comments | Reading(3)
Code: