Published:2009/7/6 7:10:00 Author:May | From:SeekIC

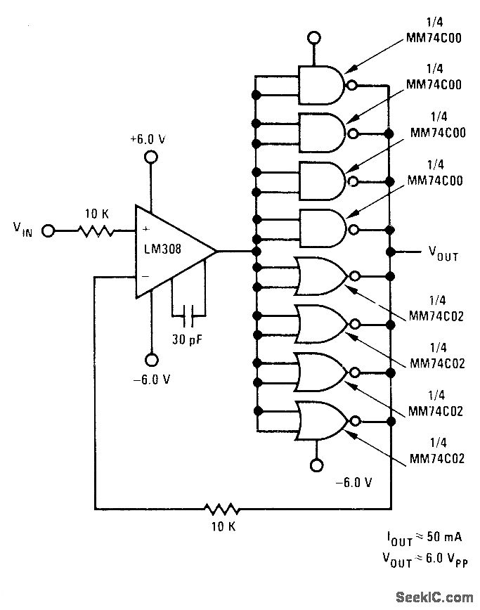
Paralleled NAND gates provide buffering for LM308 opamp while increasing current drive to about 50 mA for 6 V P-P output,MM74C00 NAND gates supply about 10 mA each from positive supply while MM74C02 gates supply same amount from negative supply.- Linear Applications, Vol. 2, National Semiconductor, Santa Clara, GA, 1976, AN-88, p 2-3.
Reprinted Url Of This Article:
http://www.seekic.com/circuit_diagram/Amplifier_Circuit/COMPLEMENTARY_POSTAMPLIFIER.html
Print this Page | Comments | Reading(3)
Code: