Published:2009/7/15 5:33:00 Author:Jessie | From:SeekIC

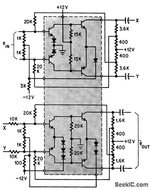
Uses eight npn transistors and eight diodes.-D. D. Robinson, Linear Microcircuits Scarce? Now You Can Breadboard Your Own, Electronics, 37:27, p. 58-64.
Reprinted Url Of This Article:
http://www.seekic.com/circuit_diagram/Amplifier_Circuit/DIFFERENTIAL_CURRENT_AMPLIFIER.html
Print this Page | Comments | Reading(3)
Code: