Published:2009/7/16 22:38:00 Author:Jessie | From:SeekIC


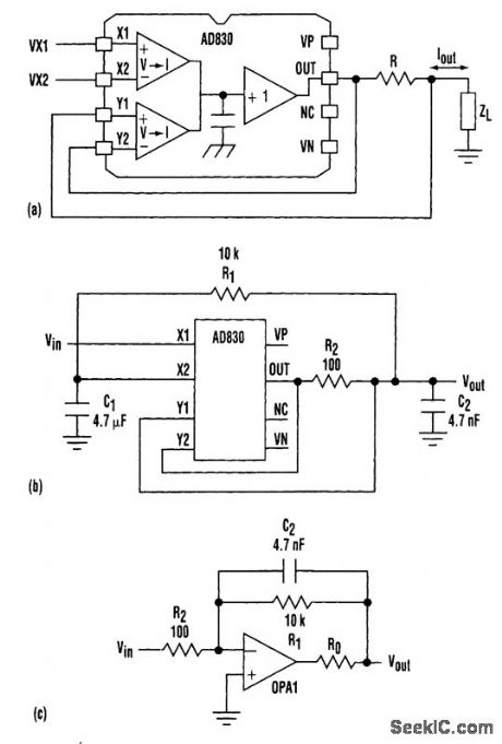
The active-feedback-amplifier topology, such as that in the AD830 from Analog Devices and Lin-ear Technology's LTC1193, can be used to produce a precision voltage-to-current converter. This, in turn, makes possible the creation of grounded-capacitor integrators. This circuit can be used as a differential input integrator by making ZL a capacitor. Figure 1b and 1c compares the grounded-capacitor integrator using the AD830 with a standard op-amp integrator. R1 in both figures and C1 in Fig.16 define the dc operating point for testing purposes. R2 and C2 determine the integrator time constant. If the op amp in Fig.1c is ideal in the sense that it is modeled as an ideal integrator with zero output and infinite input resistance, then the only difference between the two circuit topologies is the finite input resistance of the op-amp circuit determined by R2.
A large spike is produced on the output voltage waveform whenever the input switches using the circuit with the standard op-amp integrator (a). The integrator using the AD830 has no spike in its output waveform because the capacitor is connected to a true ground (b).
Reprinted Url Of This Article:
http://www.seekic.com/circuit_diagram/Amplifier_Circuit/FEEDBACK_AMPLIFIER_INTEGRATOR.html
Print this Page | Comments | Reading(3)
Code: