Published:2009/7/24 4:33:00 Author:Jessie | From:SeekIC



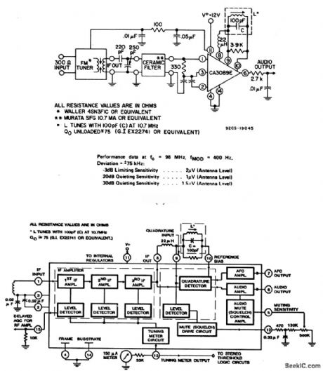
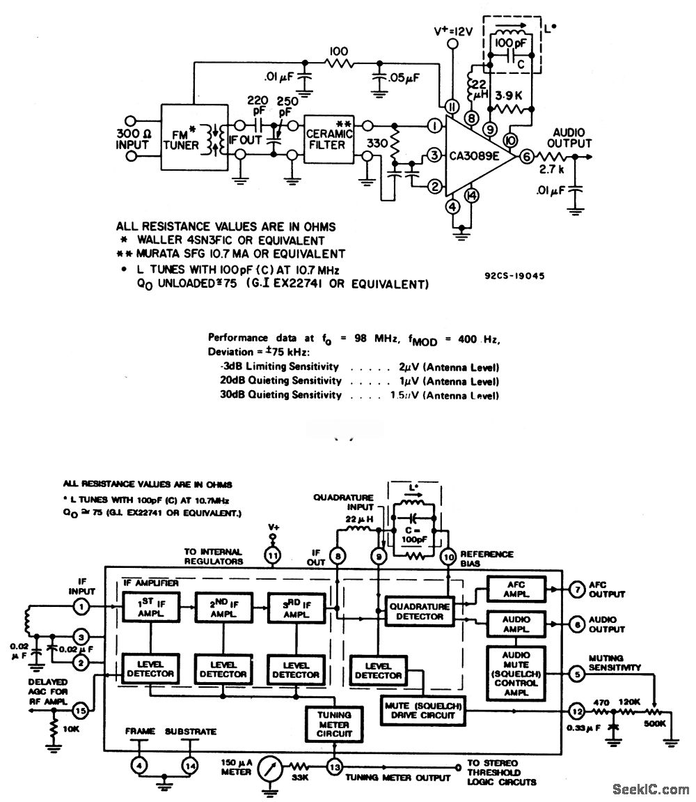
The CA3089 shown in this circuit includes an IF amplifier, quadrature detector, AF preamplifier, and specific circuits for AGC, AFC, muting (squelch), and tuning meter, as shown in Fig. 2-60B. Limiting sensitivity is 12μV (typical) at -3-dB point. The recovered audio is a typical 400 mV. Distortion (with a double-tuned coil) is a typical 0.1%. Typical characteristics are shown in Fig.2-60C.
Reprinted Url Of This Article:
http://www.seekic.com/circuit_diagram/Amplifier_Circuit/FM_tuner_with_single_tuned_detector_coil.html
Print this Page | Comments | Reading(3)
Code: