Published:2009/7/23 23:42:00 Author:Jessie | From:SeekIC

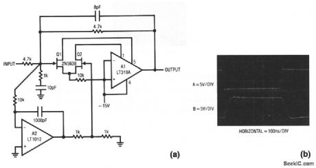
This composite amplifier is similar to that of Fig. 1-17, except that FETs are used to increase speed. Full power bandwidth is about 1 MHz, with a slew rate over 100 V/μs. Input bias is about 100 pA, offset and drift are about the same as Fig. 1-17. Figure 1-18B shows pulse response (trace A is input, trace B output).
Reprinted Url Of This Article:
http://www.seekic.com/circuit_diagram/Amplifier_Circuit/Fast_dc_stabilized_composite_amplifier.html
Print this Page | Comments | Reading(3)
Code: