Published:2009/7/16 4:04:00 Author:Jessie | From:SeekIC

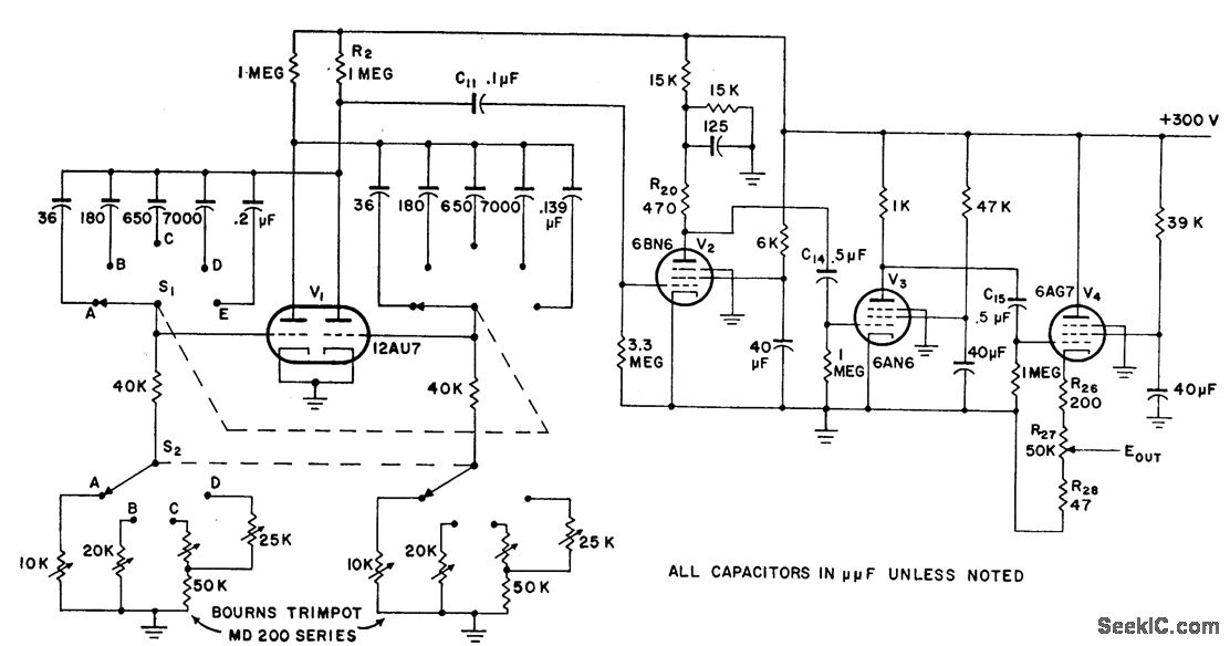
Amplifies without attenuation up to tenth harmonic of square-wave fundamental, from which output of 50 to 500,000 pps can be adjusted over desirable range without wave form distortion. Uses twin-triode 12AU7 as symmetrical mvbr, 6BN6 as gated-beam tube, 6AN6 as wideband amplifier, and 6AG7 as cathode-follower output. Operating frequencies are changed by S1 and S2. R27 adjusts output signal level from 0.8 to 8 v peak to peak. Rise time for 500-kc signal is better than 0.07 microsec. Provides 5 distinct repetition rates (50, 1,000, l0,000,100,000, and 500,000 pps) for checking amplifiers up to at least tenth harmonic of fundamental repetition ratio.-Gated-Beam Tube Square-Wave Generator, Electronic Circuit Design Handbook, Mactier Pub. Corp., N.Y., 1965, p 175.
Reprinted Url Of This Article:
http://www.seekic.com/circuit_diagram/Amplifier_Circuit/GATEDBEAM_SQUAREWAVE_GENERATOR.html
Print this Page | Comments | Reading(3)
Code: