Published:2009/7/16 22:32:00 Author:Jessie | From:SeekIC

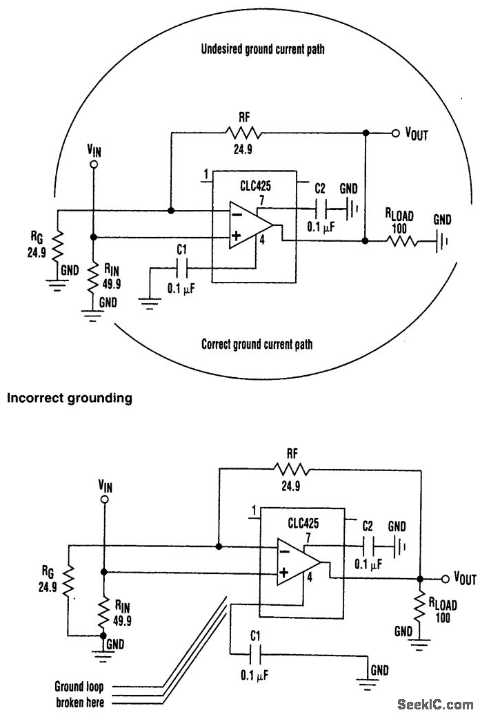
Incorrect grounding on a high-frequency amplifier allows the addition of polarized signal back into the input. Improved grounding is provided by common grounds at the input, physical orientation of a bypass capacitor, and breaking a ground loop.
Reprinted Url Of This Article:
http://www.seekic.com/circuit_diagram/Amplifier_Circuit/HF_AMPLIFIER_GROUNDING_TECHNIQUE.html
Print this Page | Comments | Reading(3)
Code: