Published:2011/3/27 22:16:00 Author:may | Keyword: DC amplifier, High power amplifier | From:SeekIC

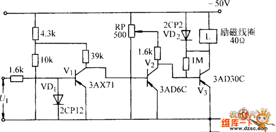
High power DC amplifier circuit is shown in the diagram:
Reprinted Url Of This Article:
http://www.seekic.com/circuit_diagram/Amplifier_Circuit/High_power_DC_amplifier_circuit.html
Print this Page | Comments | Reading(3)
Code: