Published:2009/7/10 0:41:00 Author:May | From:SeekIC

The usual method for using a current-feedback amplifier to drive a capacitive load isolates the load with a resistor in series with the amplifier's output.
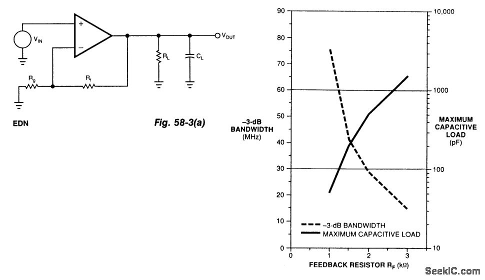
A better solution involves only the amplifier's feedback resistors (Fig. 58-3(a)). Because the feedback resistors determine the amplifier's compensation, you can select the optimal value for these feedback resistors for almost any capacitive load.
Feedback resistance RF sets the amplifier's bandwidth. Increasing RF reduces the amplifier's band-width, which significantly improves the amplifier's ability to drive capacitive loads. Feedback resistor RG sets the amplifier's gain.
You cannot get the data necessary to calculate alternate values for RF from most data sheets. How-ever, a few minutes at the bench with a network analyzer will generate the data to make a graph of the value of the feedback resistor vs. the amount of capacitive load the amplifier can drive (Fig. 58-3(b)).
Start with the recommended data-sheet value for feedback resistor RF and measure the amplifier's frequency response without any capacitive load. Note the bandwidth, then add capacitive loading until the response peaks by about 5 dB. Record this value of capacitance; it is the maximum amount for that feed-back resistor. Then, increase the value of the feedback resistor and repeat the procedure until you develop a graph like the one in Fig. 58-3(b).
Reprinted Url Of This Article:
http://www.seekic.com/circuit_diagram/Amplifier_Circuit/INCREASED_FEEDBACK_STABILIZED_AMPLIFIER.html
Print this Page | Comments | Reading(3)
Code: