Published:2011/5/3 6:53:00 Author:Christina | Keyword: Input status, indication | From:SeekIC

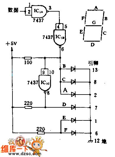
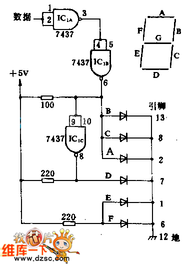
This circuit monitors the bit data input, and shows H or L on the 7-segment digital display by the conditions. This circuit uses two 7437 inverters and one DL-704 LED common cathode. The diode symbol means one segment of the digital tube (when segment A displaying H or L , the diode symbol means nothing). The 7437 inverter's power connection are: (14) connects to +5V, (7) connects to ground.
Reprinted Url Of This Article:
http://www.seekic.com/circuit_diagram/Amplifier_Circuit/Input_status_indication_circuit.html
Print this Page | Comments | Reading(3)
Code: