Published:2009/7/7 4:10:00 Author:May | From:SeekIC

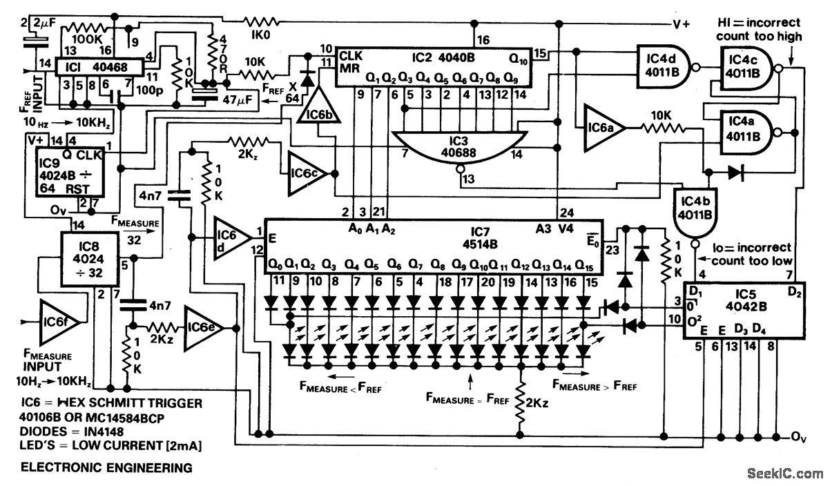
The circuit provides unambiguous LED + or - bar readout with steps of 0.1%. The reference frequency is multiplied by the PLLIC1 and divider IC9 to output 64 x F (ref) and this is then gated by dividing F (measure) by 32 in IC8 thus is F (ref) -(measure) then IC2 counts 1024 pulses. Should the count be more than 1031 than the t latch IC4c/IC4a is set to indicate count too high (F (measure) F (ref)) and if the count is less than 1017 then IC3/IC4b indicate count too low (F(measure) F (ref). These signals are latched by IC5 at the end of each period by the latch signal from IC6e.When the two frequencies are within + or - 0.670 the LSB's of the counter IC2 are decoded and latched by IC7 and displayed on LED's IC6c resets the counter after latching the data.
Reprinted Url Of This Article:
http://www.seekic.com/circuit_diagram/Amplifier_Circuit/LED_FREQUENCY_COMPARATOR.html
Print this Page | Comments | Reading(3)
Code: