Published:2009/6/15 22:05:00 Author:May | From:SeekIC

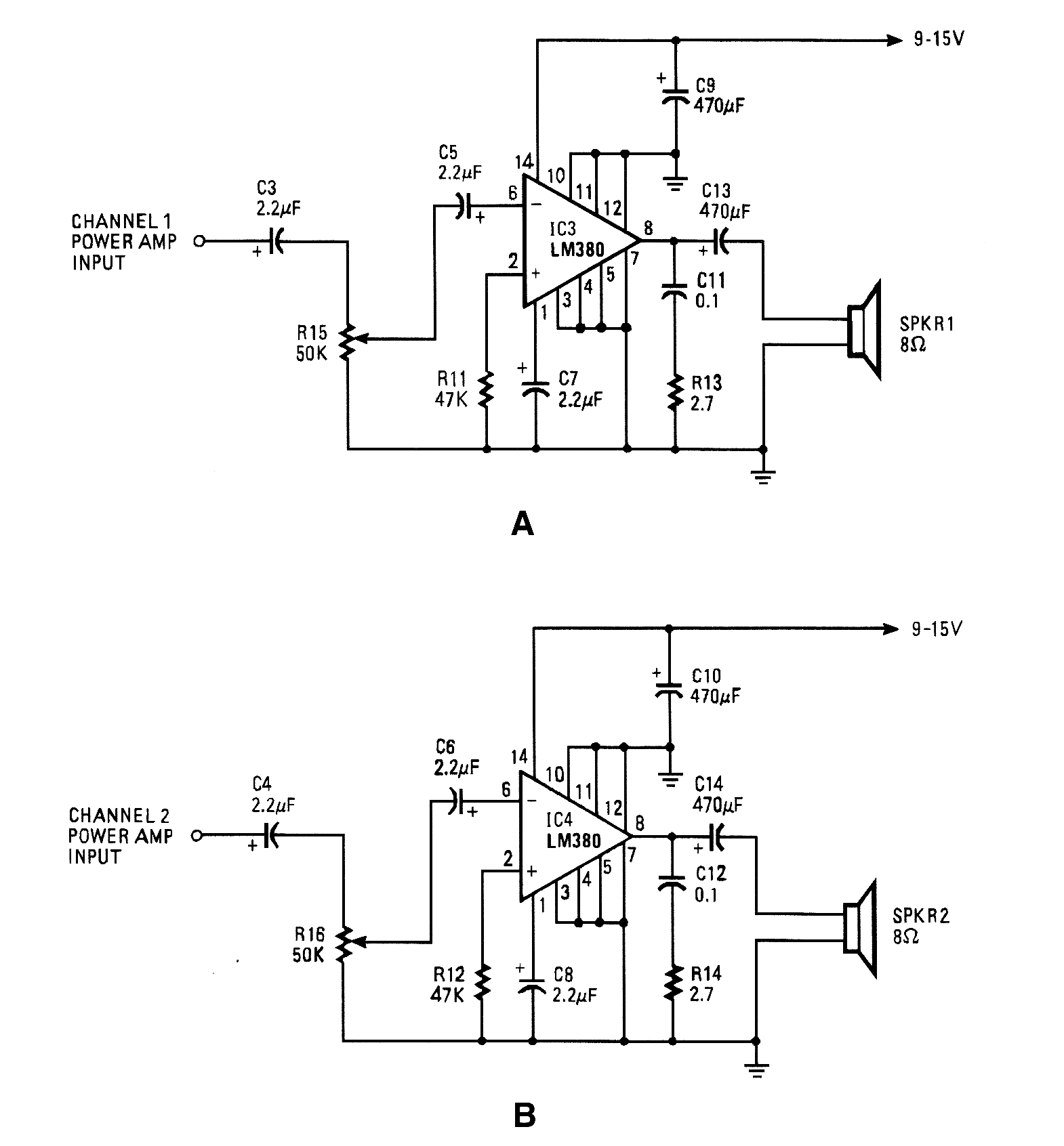
With the simple circuit, you can use your personal stereo to drive standard 8-Ω speakers.
Reprinted Url Of This Article:
http://www.seekic.com/circuit_diagram/Amplifier_Circuit/LM38O_PERSONAL_STEREO_AMPLIFIER.html
Print this Page | Comments | Reading(3)
Code: