Published:2009/7/3 5:23:00 Author:May | From:SeekIC

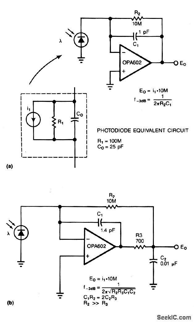
Adding two passive components to a standard photodiode amplifier reduces noise. Without the modifi-cation, the shunt capacitance of the photodiode reacting with the relatively large feedback resistor of the transimpedance (current-to-voltage) amplifier, creates excessive noise gain.
The improved circuit, Fig. 3-18b, adds a second pole, formed by R3 and C2. The modifications reduce noise by a factor of 3. Because the pole is within the feedback loop, the amplifier maintains its low output impedance. If you place the pole outside the feedback loop, you have to add an additional buffer, which would increase noise and dc error.
The signal bandwidth of both circuits is 16 kHz. In the standard circuit (Fig. 3-18a), the 1-pF stray capacitance in the feedback loop forms a single 16-kHz pole. The improved circuit has the same bandwidth as the first, but exhibits a 2-pole response.
Reprinted Url Of This Article:
http://www.seekic.com/circuit_diagram/Amplifier_Circuit/LOW_NOISE_PHOTODIODE_AMPLIFIER.html
Print this Page | Comments | Reading(3)
Code: