Published:2009/7/24 5:06:00 Author:Jessie | From:SeekIC

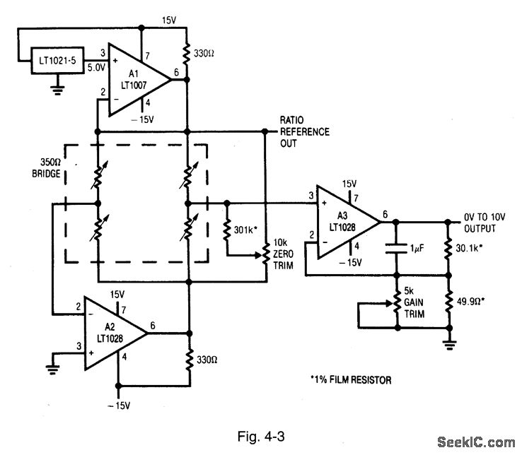
Figure 4-3 shows a circuit that is similar to that of Fig. 4-2, except that low-noise bipolar amplifiers are used. This circuit trades slightly higher dc offset drift for lower noise; it is a good candidate for stable resolution of small, slowly varying measurements. LINEAR TECHNOLOGY, APPLICATION NOTE 43, P. 6.
Reprinted Url Of This Article:
http://www.seekic.com/circuit_diagram/Amplifier_Circuit/Low_noise_bridge_amplifier_with_common_mode_suppression.html
Print this Page | Comments | Reading(3)
Code: