Published:2013/3/13 2:02:00 Author:Ecco | Keyword: Mono Preamp , CMOS IC | From:SeekIC

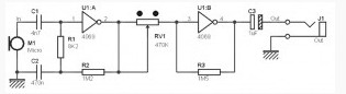
Microphone preamp described here is not a professional preamp, but the original preamp and it is cheap and easy to build. Why the original? Because it does not use non-conventional transistors or operational amplifiers (op amps) to amplify the signal from the microphone, but a set of logic gates are commonly used in digital electronics. Digital ICs used are as in the title above which is cmos CD 4049.
As said above, this scheme there are no transistors or components “analog” to ensure amplification of the signal from the microphone. Except for only two logic gates share the work. Microphones, which are provided to capture the sound,connected to the input of the first logic gate U1: A. This ensures that the amplifier logic gate rate is determined by the value of the resistors R1 and R2. The second logic gate U1: B, in turn, ensures that amplification can be adjusted using potentiometer RV1.
Reprinted Url Of This Article:
http://www.seekic.com/circuit_diagram/Amplifier_Circuit/Mono_Preamp_based_on_CMOS_IC_CD4069.html
Print this Page | Comments | Reading(3)
Code: