Published:2009/7/23 22:16:00 Author:Jessie | From:SeekIC

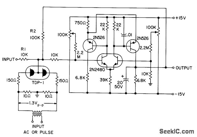
Uses funnel-diode pair with amplifier to provide output that is proportional to input signal at instant corresponding to leading edge of sampling pulse. Voltage gain of circuit is 100.Can also be used to measure differential peak point current of tunnel diode pairs.- Transistor Manual, Seventh Edition, General Electric Co., 1964, p 372.
Reprinted Url Of This Article:
http://www.seekic.com/circuit_diagram/Amplifier_Circuit/OPERATIONAL_AMPUFIER_SAMPLER.html
Print this Page | Comments | Reading(3)
Code: