Published:2009/6/18 21:50:00 Author:May | From:SeekIC

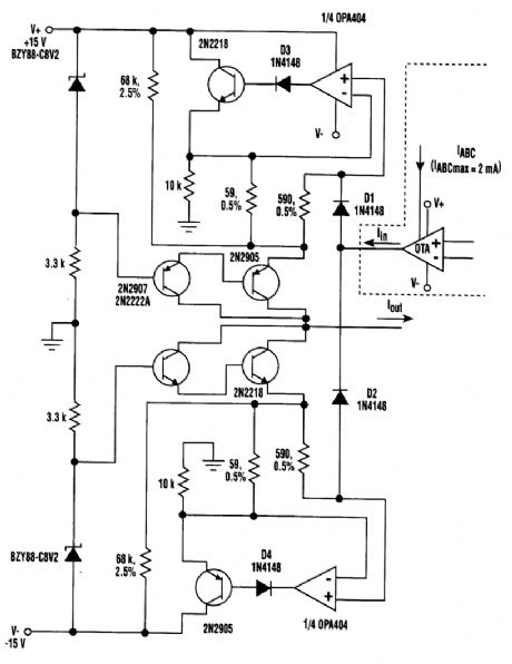
Implementing a bidirectional precision current amplifier in an operational transconductance am-plifier (OTA) can boost the OTA's output current. To accomplish this task, two diodes and a comple-mentary stage are added to this otherwise simple design.
Reprinted Url Of This Article:
http://www.seekic.com/circuit_diagram/Amplifier_Circuit/OPERATIONAL_TRANSCONDUCTANCE_AMPLIFIER_WITH_BOOSTER.html
Print this Page | Comments | Reading(3)
Code: