Published:2009/7/13 3:30:00 Author:May | From:SeekIC

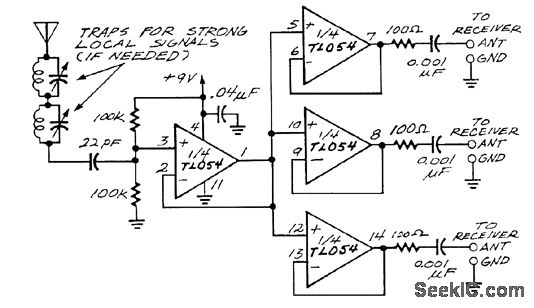
The impedance of a random-wire antenna at broadcast-band frequencies will be several kilohms, a poor match for the 50-Ω input of a receiver. Also, the inputs of multiple receivers can't be connected directly to a single antenna, or they'll detune each other. The circuit solves both problems. The first op amp overcomes the impedance mismatch, strengthening the signal greatly even though it has no voltage gain. The rest of the op amps feed the signals to the separate receivers. No low-pass filter is needed because the gain of these op amps drops off sharply above 2 or 3 MHz.
Reprinted Url Of This Article:
http://www.seekic.com/circuit_diagram/Amplifier_Circuit/OP_AMP_ANTENNA_AMPLIFIER.html
Print this Page | Comments | Reading(3)
Code: