Published:2009/7/24 23:59:00 Author:Jessie | From:SeekIC

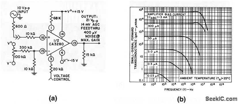
This circuit shows an OTA in a typical gain-control amplifier application. Figure 11-5B shows some typical characteristics. With an IABC of 1 mA,the gm is about 16 mmhos. With the CA3280 operating into a 5-KΩ resistor,the gain is 80.
Reprinted Url Of This Article:
http://www.seekic.com/circuit_diagram/Amplifier_Circuit/OTA_gain_control_amplifier.html
Print this Page | Comments | Reading(3)
Code: