Published:2009/7/24 23:58:00 Author:Jessie | From:SeekIC

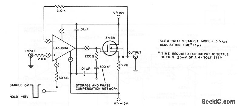
This circuit shows one section of an OTA combined with a JFET to form a sample-hold configuration.
Reprinted Url Of This Article:
http://www.seekic.com/circuit_diagram/Amplifier_Circuit/OTA_sample_hold_circuit.html
Print this Page | Comments | Reading(3)
Code: