Published:2009/7/16 4:00:00 Author:Jessie | From:SeekIC

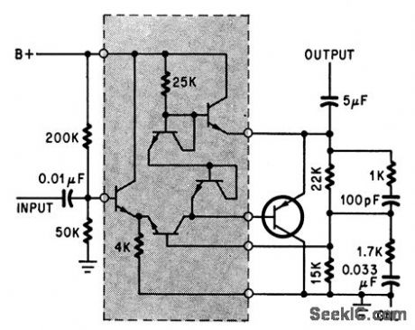
Integrated construction (shaded) is used with external pnp transistor.-D. D. Robinson, linear Microcircuits Scarce? Now You Can Breadboard Your Own, Electronics, 37:27, p 58-64.
Reprinted Url Of This Article:
http://www.seekic.com/circuit_diagram/Amplifier_Circuit/OUTPUT_BUFFER_AMPLIFIER.html
Print this Page | Comments | Reading(3)
Code: